近期,国家药典委密集公示了一批中药标准修订草案。既有中药材、饮片,也有中成药、配方颗粒等品种标准,也有重金属及药材、饮片检定通则修订草案。看看有没有你关心的品种吧!
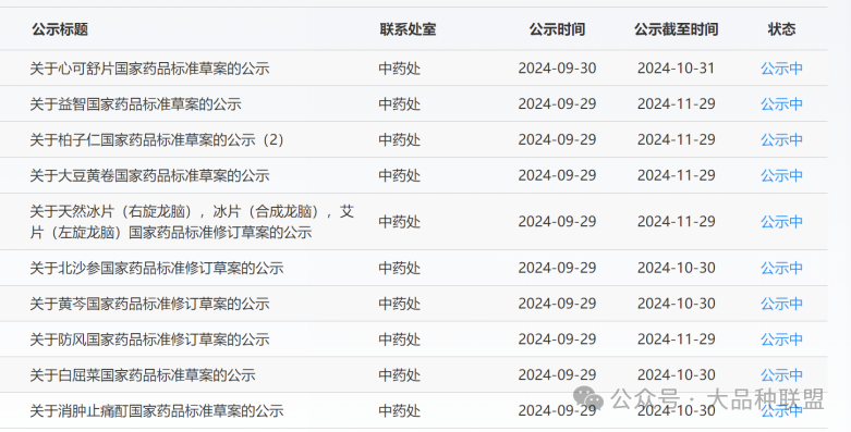
2024年9月29-30日,国家药典委公示了19个中药标准草案:黄连、艾叶、川芎、延胡索(元胡)、棕榈、益智、柏子仁、大豆黄卷、北沙参、黄芩、防风、白屈菜、天然冰片(右旋龙脑),冰片(合成龙脑),艾片(左旋龙脑);古汉养生精颗粒、古汉养生精口服液、古汉养生精片、心可舒片、消肿止痛酊。
9月27日,发布了地奥心血康胶囊国家药品标准草案的第二次公示 。
9月26日,公示了胃康灵颗粒、元胡止痛片、一清颗粒3个中成药国家药品标准草案。
09月25日发布了2个中药标准公示,分别为夏枯草和川芎。
09月19日发布了拳参标准公示。
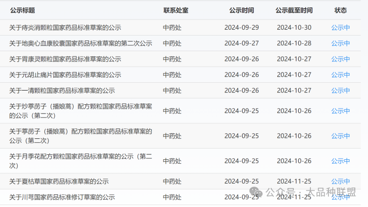
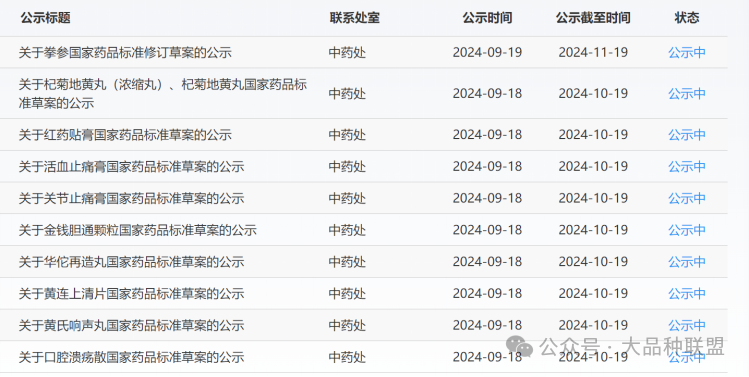
9月18日,公示了16个中药标准草案:杞菊地黄丸(浓缩丸)、杞菊地黄丸、红药贴膏、活血止痛膏、关节止痛膏、金钱胆通颗粒、华佗再造丸、黄连上清片、黄氏响声丸、口腔溃疡散、前胡、片姜黄、山慈菇、皂白散、血脂康胶囊、血脂康片。
9月5-12号,先后公示了复方黄连素片、健儿消食口服液、香砂六君丸、九味双解口服液、茵山莲颗粒、抗骨增生丸、救必应7个中成药,三七、苍术两个中药材的国家药品标准修订草案。





其中29/30日公布标准新增项目的品种有11个:
黄连、艾叶、川芎(拟新增重金属与有害元素检查项);
益智药材(增订益智药材的水分检查项,浸出物项);
益智饮片(增订益智仁饮片的总灰分、酸不溶性灰分检查项,浸出物项);
盐益智仁饮片(增订盐益智仁饮片的浸出物项);
柏子仁(增订柏子仁药材薄层色谱鉴别项;增订柏子仁饮片薄层色谱鉴别项);
大豆黄卷(增订大豆黄卷的浸出物测定项);
北沙参药材(新增粉末显微鉴别项;新增水分、总灰分检查,新增浸出物项);
北沙参饮片(增列性状项,鉴别、检查、浸出物项同药材);
古汉养生精颗粒、古汉养生精口服液、古汉养生精片(新增了女贞子的薄层鉴别项);
心可舒片(【鉴别】新增了山楂的显微鉴别)。
各品种新增具体内容如下:
1、黄连
根据本品重金属及有害元素蓄积及与土壤相关性研究结果,拟新增重金属与有害元素检查项;
2、艾叶
根据本品重金属及有害元素蓄积及与土壤相关性研究结果,拟新增重金属与有害元素检查项;
3、川芎
根据本品重金属及有害元素蓄积及与土壤相关性研究结果,拟新增重金属与有害元素检查项;
4、延胡索(元胡)
规范了延胡索饮片的炮制项表述,并完善了性状项。
5、棕榈
完善了棕榈药材、棕榈饮片、棕榈炭饮片的显微特征。
6、益智
增订益智药材的水分检查项,浸出物项;增订益智仁饮片的总灰分、酸不溶性灰 分检查项,浸出物项;增订盐益智仁饮片的浸出物项。
7、柏子仁
增订柏子仁药材薄层色谱鉴别项;增订柏子仁饮片薄层色谱鉴别项。
8、大豆黄卷
增订大豆黄卷的浸出物测定项。
9、北沙参
1. 完善了北沙参药材的性状项表述;
2. 完善了北沙参药材的横切面显微特征,新增粉末显微鉴别项;
3. 北沙参药材新增水分、总灰分检查,新增浸出物项;
4. 北沙参饮片增列性状项,鉴别、检查、浸出物项同药材。
10、黄芩
1. 完善了黄芩药材的显微特征;
2. 完善了黄芩饮片,酒黄芩饮片的性状。
11、防风
1. 修订了防风药材的性状;
2. 修订了防风药材的含量测定方法,更换了指标成分并制订了相应的限度;
3. 防风饮片同步修订。
12、白屈菜
完善了白屈菜药材的性状项表述
12、天然冰片(右旋龙脑)
修订了含量测定方法,并相应调整了限度要求。检查项下樟脑的测定方法同步修订。
13、冰片(合成龙脑)
1. 删除原标准中的结构式,分子式与分子量;
2. 修订了含量测定方法,检查项下樟脑的测定方法同步修订。
14、艾片(左旋龙脑)
修订了含量测定方法,检查项下异龙脑、樟脑的测定方法同步修订。
15、古汉养生精颗粒
1.【鉴别】修订了人参、黄芪、枸杞子、淫羊藿、白芍的薄层鉴别项,新增了女贞子的薄层鉴别项。
2.【含量测定】修订了淫羊藿的含量测定方法。
16、古汉养生精口服液
1.【性状】修订颜色范围。
2.【鉴别】修订了人参、黄芪、枸杞子、淫羊藿、白芍的薄层鉴别;新增了女贞子的薄层鉴别。
3.【含量测定】修订了淫羊藿的含量测定方法。
17、古汉养生精片
1.【鉴别】修订了人参、黄芪、淫羊藿、枸杞子、白芍的薄层鉴别;新增了女贞子的 薄层鉴别。
2.【含量测定】修订了淫羊藿的含量测定项。
18、心可舒片
1.【制法】将“小片”“大片”分别规范为“规格 1”“规格 2”
2.【鉴别】新增了山楂的显微鉴别、删除了山楂的 HPLC 色谱鉴别。建议对山楂的鉴别持续研究,建立专属性的方法。
3.【特征图谱】修订了色谱条件与系统适用性试验内容。
4.【含量测定】修订了丹参、葛根含量测定项下的色谱条件等内容。
5.【规格】根据《中成药规格表述技术指导原则》,规范了规格项
19、消肿止痛酊
1.【鉴别】修订了芍药苷的薄层鉴别项。
2.【含量测定】规范了供试品溶液制备方法的文字表述。以g为单位重新折算了含量限度。
3.【用法与用量】以g为单位重新折算了服用量。
4.【规格】根据《中成药规格表述技术指导原则》,规范了规格项。
9月18日修订项目比较多的品种有:
金钱胆通颗粒
1.【制法】根据省局备案材料,修订了制法项。
2.【性状】修订了性状颜色范围。
3.【鉴别】修订了金钱草、茵陈、丹参、柴胡的薄层鉴别:新增了虎杖、决明子的薄层鉴别。
4.【含量测定】新增了虎杖中虎杖苷的 HPLC 含量测定项。
5.【规格】根据《中成药规格表述技术指导原则》,对规格进行了规范。
前胡
1.完善了前胡药材的来源与性状表述;
2.修订了药材的薄层鉴别方法,并新增对照药材作对照;
3.修订了药材的含量测定项,调整了指标成分的限度;
4.前胡饮片、蜜前胡饮片同步修订。
片姜黄
1. 修订了片姜黄药材来源中的干燥方式,修订了性状;
2. 修订了片姜黄药材的薄层鉴别方法,并新增莪术二酮对照品作对照;
3. 新增水分、总灰分、酸不溶性灰分检查项,新增浸出物项;
4. 在原有挥发油含量测定的基础上,新增莪术二酮、牻牛儿酮的含量测定;
5. 增列饮片内容,炮制为简单净制,相关项目同药材。
山慈菇
1. 完善了山慈菇药材的来源与性状项表述;
2.完善了药材的横切面显微特征表述,新增粉末显微鉴别;3.新增薄层鉴别,毛慈菇与冰球子分别规定;
4.新增水分、总灰分检查项,新增浸出物项;
5.规范了山慈菇饮片炮制项的表述,增列性状项,相关项目同药材。
皂白散
1.根据药品补充申请批准通知书,修订了规格项及用法用量的表述。
2.制定了硫酸亚铁的含量上下限
血脂康胶囊
1.删除了制剂标准及后附标准中的红曲薄层色谱鉴别项。
2.增加了制剂的溶出度检查。
3.修订了制剂及红曲的含量测定方法,制定了制剂中洛伐他汀的含量上下限。
4.新增了红曲中桔青霉素的限量检查项。
血脂康片
1.删除了红曲的薄层鉴别;
2.新增了溶出度的检查项。
3.修订了含量测定的方法,制定了含量限度上下限。
修订内容:
1、杞菊地黄丸(浓缩丸)
【鉴别】项,拟修订枸杞子鉴别的展开条件。
2、杞菊地黄丸
【鉴别】项,拟修订枸杞子鉴别的展开条件。
3、红药贴膏
4、活血止痛膏
5、关节止痛膏
修订了关节止痛膏中颠茄流浸膏的薄层鉴别项。
6、金钱胆通颗粒
1.【制法】根据省局备案材料,修订了制法项。
2.【性状】修订了性状颜色范围。
3.【鉴别】修订了金钱草、茵陈、丹参、柴胡的薄层鉴别:新增了虎杖、决明子的薄层鉴别。
4.【含量测定】新增了虎杖中虎杖苷的 HPLC 含量测定项。
5.【规格】根据《中成药规格表述技术指导原则》,对规格进行了规范。
7、华佗再造丸
8、黄连上清片
9、黄氏响声丸
10、口腔溃疡散
11、前胡
1.完善了前胡药材的来源与性状表述;
2.修订了药材的薄层鉴别方法,并新增对照药材作对照;
3.修订了药材的含量测定项,调整了指标成分的限度;
4.前胡饮片、蜜前胡饮片同步修订。
12、片姜黄
1. 修订了片姜黄药材来源中的干燥方式,修订了性状;
2. 修订了片姜黄药材的薄层鉴别方法,并新增莪术二酮对照品作对照;
3. 新增水分、总灰分、酸不溶性灰分检查项,新增浸出物项;
4. 在原有挥发油含量测定的基础上,新增莪术二酮、牻牛儿酮的含量测定;
5. 增列饮片内容,炮制为简单净制,相关项目同药材。
13、山慈菇
1. 完善了山慈菇药材的来源与性状项表述;
2.完善了药材的横切面显微特征表述,新增粉末显微鉴别;3.新增薄层鉴别,毛慈菇与冰球子分别规定;
4.新增水分、总灰分检查项,新增浸出物项;
5.规范了山慈菇饮片炮制项的表述,增列性状项,相关项目同药材。
14、皂白散
1.根据药品补充申请批准通知书,修订了规格项及用法用量的表述。
2.制定了硫酸亚铁的含量上下限。
15、血脂康胶囊
1.删除了制剂标准及后附标准中的红曲薄层色谱鉴别项。
2.增加了制剂的溶出度检查。
3.修订了制剂及红曲的含量测定方法,制定了制剂中洛伐他汀的含量上下限。
4.新增了红曲中桔青霉素的限量检查项。
16、血脂康片
1.删除了红曲的薄层鉴别;
2.新增了溶出度的检查项。
3.修订了含量测定的方法,制定了含量限度上下限。
2024年09月11日,国家药典委发布了3个中药标准公示,分别为健儿消食口服液公示期2个月、香砂六君丸公示期2个月、九味双解口服液公示期3个月。
来源:中药大品种联盟
在线商城
陇神京东元胡止痛滴丸
百利青禾店
普安康宣肺止嗽合剂
抖音商城
抖音